Написать нам
Помощь
с выбором
Авторизация
Камера склада
Запчасти для спецтехники СтатьиСтатьиГидроцилиндры: виды, устройство и принцип работы

Гидроцилиндры: виды, устройство и принцип работы

Специальная техника — машины, которые заменяют ручной труд, повышают эффективность работы в разных сферах. Спецтехнику используют в строительстве, сельском хозяйстве и других отраслях. Такие машины обладают большой энергоемкостью при сравнительно малых габаритных размерах. Это достигается за счет гидравлического привода.

Гидроприводы — устройства, которые приводят спецтехнику и ее механизмы в движение за счет гидравлической энергии. По техническим характеристикам они превосходят другие типы приводов, отличаются надежной конструкцией, обеспечивают бесперебойную циркуляцию рабочей среды.

Содержание

Гидравлический цилиндр — основной узел гидропривода. Принцип его работы основан на возвратно-поступательных движениях выдвигающегося элемента, совершающиеся под воздействием рабочей среды. Гидроцилиндр имеет компактные размеры, выпускается в разных видах, поэтому устанавливать такой агрегат можно в любое оборудование.

Гидроцилиндр
Подобрать запчасти для ремонта гидроцилиндра экскаватора
Нажимая на кнопку "Отправить", я даю согласие на обработку персональных данных

Конструкция и принцип работы

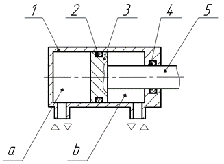
схема гидроцилиндра

Рисунок 1

Устройство гидроцилиндра отличается простотой. Его схема изображена на рис. 1. Корпус (1) гидравлического цилиндра изготавливают из стальной трубы с обработанными поверхностями. Внутри корпуса расположен стальной поршень (3) со штоком (5). Рабочая камера гидроцилиндра делится на две части: поршневую (a) и штоковую (b).

Соединения в устройстве герметизируются полимерными или резиновыми кольцами (2, 4). Это нужно, чтобы предотвратить утечки рабочей среды, ее перемещение между полостями рабочей камеры.

Принцип работы гидроцилиндра основан на преобразовании энергии жидкости в механическую, под воздействием которой перемещается поршень. Когда жидкость подается в поршневую полость, поршень под ее давлением выдвигается наружу. Это называется прямым ходом. Если рабочая среда подается в штоковую полость, поршень втягивается назад. Это обратный ход.

Виды гидроцилиндров

схема гидроцилиндра

Рисунок 2

Гидроцилиндры делятся на категории по разным характеристикам.

По способу подачи рабочей среды

Жидкость в гидравлические цилиндры подается через шток (рис. 2, д) или гильзу (рис. 2, а). Бывают модели с односторонними (рис. 2, а) и двусторонними (рис. 2, в) штоками. В первых поршень соединен с одним штоком, во вторых — с двумя. Двусторонние штоки также называют проходными.

По строению рабочей камеры

  • Поршневые (рис. 2, а). У таких гидроцилиндров рабочая камера образуется между поверхностями корпуса и поршня.
  • Плунжерные (рис. 2, б). Камера ограничена корпусом и плунжером. Плунжер — цилиндрический элемент, который выполняет те же функции, что поршень. Отличается от него формой и строением.
  • Телескопические (рис. 2, д). У таких гидроцилиндров рабочая камера образуется между несколькими выдвигающимися друг из друга штоками.

По направлению действия

Бывают гидравлические цилиндры одно- и двустороннего действия. В первых (рис. 2, б) после подачи жидкости в рабочую камеру шток перемещается только в одном направлении. Его возврат происходит под воздействием пружины, силы тяжести, других факторов.

В гидравлических цилиндрах двустороннего действия (рис. 2, а) шток двигается в двух направлениях. При подаче жидкости в поршневую полость создается максимальное усилие, выдвигающее шток наружу. При подаче рабочей среды в штоковую полость, шток втягивается обратно.

Гидроцилиндры двустороннего действия выпускаются с одно-, двусторонними, телескопическими штоками. Некоторые модели оснащаются демпферами для обеспечения более плавного хода, снижения скорости перемещения выдвигающегося элемента.

По способу крепления

Гидроцилиндры крепятся к технике на фланцы, проушины, лапы, цапфы с резьбой, с помощью сварки. При использовании последнего способа важно помнить, что сварочные работы слишком близко к обработанной гильзе могут привести к ее деформации, выходу из строя всего узла.

По условиям применения

Производители изготавливают гидроцилиндры для холодного, умеренного, тропического климата, влажного и сухого. Различаются изделия и по задачам, которые они решают:

  • запуск рычагов, циклические повторения рабочих действий;
  • перемещение рабочих элементов, совершение полезных действий во время движения;
  • фиксация рабочих элементов в определенном положении, установка опор для устойчивого положения спецтехники.
Подобрать запчасти для ремонта гидроцилиндра экскаватора
Нажимая на кнопку "Отправить", я даю согласие на обработку персональных данных

Конфигурации

Конфигурации

Рисунок 3

Производители выпускают гидроцилиндры разных форм. Самыми востребованными считаются поршневые модели с односторонним штоком, которые крепятся на две проушины со сферическими шарнирами. Рабочая среда в таких гидроцилиндрах подается через гильзу.

Устройства этого типа используются в разной спецтехнике: от грузовых автомобилей до экскаваторов. В некоторых случаях вместо проушины для крепления к машине используют резьбовой шток.

Конфигурации

Рисунок 4

Другой популярный вид гидроцилиндров — телескопические одностороннего действия (рис. 4). Они становятся частью системы, которая отвечает за поднятие кузова в самосвалах. В спецтехнике этого вида необходимо устанавливать компактные конструкции. Телескопические гидроцилиндры, в которых штоки складываются один в другой, — лучший для таких машин вариант. Максимальное количество штоков в таких устройствах — шесть.

В телескопических моделях одностороннего действия рабочая среда подается в полости через крышку или шток. Эти детали находятся на раме гидроцилиндра. Секции устройства выдвигаются по очереди: первая — часть с самой большой эффективной площадью, далее — по убыванию. Скорость перемещения каждого следующего элемента возрастает, усилие сокращается. Это происходит из-за уменьшения площади штока.

Когда кузов спецтехники поднимается, нагрузка на телескопический гидроцилиндр становится меньше. Снижение сопротивления, которое происходит при выдвижении штока, компенсируется. В исходное положение штоки возвращаются за счет веса кузова.

Еще один вид телескопических устройств — гидроцилиндр выдвижения стрелы. Его устанавливают в кранах. К важным характеристикам таких моделей относятся величина сжимающей силы, размеры штока, способ крепления конструкции к машине. Эти параметры влияют на устойчивость штока, его эффективность.

Чтобы гидроцилиндр выдвижения стрелы работал исправно, необходимо соблюдать требования к максимальному весу поднимаемых грузов, которые устанавливает производитель. Для дополнительной жесткости, устойчивости штока на концах его секций установлены специальные элементы.

гидроцилиндры вывешивания

Рисунок 5

Еще один вид устройств — гидроцилиндры вывешивания опор (рис.5). Также их называют гидравлическими цилиндрами аутригеров. Это поршневые модели, на корпусе которых расположен специальный кронштейн для подсоединения конструкции к раме спецтехники. На конце штока гидроцилиндра вывешивания закреплена опора в форме сферы, на поршневой полости — фланец для подсоединения предохранительного клапана или гидрозамка.

Как подобрать

  • Рассчитайте присоединительные размеры, габариты устройства с учетом условий компоновки.
  • Определите развиваемое гидроцилиндром усилие, скорость движения штока.
  • Рассчитайте расход рабочей жидкости.
  • Выберите подходящие вид и конфигурацию гидроцилиндра, способ крепления.

Как рассчитать основные параметры

К главным характеристикам устройства относятся усилие, развиваемое гидроцилиндром, скорость выдвижения штока, расход рабочей среды. На примере покажем, как рассчитать эти параметры.

основные параметры

Рисунок 6

Шток гидроцилиндра на рисунке 6 выдвигается со скоростью W1. При этом он преодолевает сопротивление F1, которое можно рассчитать следующим способом:

формула F1

A1 здесь — это активная площадь поршня, p — давление в поршневой полости. Чтобы рассчитать активную площадь, нужно знать диаметр поршня (Dц) гидроцилиндра. Применяем формулу:

формула А1

Для определения скорости, с которой перемещается шток гидроцилиндра, необходимо расход, поступающий в поршневую полость (Qп), разделить на активную площадь поршня:

формула W

Для определения расхода гидравлического цилиндра делим объем поршневой полости (Vп) на время ее наполнения жидкостью (tп):

формула Qп

Чтобы рассчитать объем поршневой полости, используем формулу:

формула Tп

h здесь — ход поршня. Эта величина обозначает расстояние между двумя крайними положениями выдвигающегося элемента.

Рекомендации по эксплуатации

При установке и дальнейшем использовании гидроцилиндра важно соблюдать правила безопасности, установленные государственными стандартами, производителем.

Подшипники рекомендуется смазывать универсальной смазкой. Это необходимо для плавного перемещения штока. Также важно следить за состоянием уплотнительных колец, чтобы избежать утечек рабочей жидкости.

В первые часы работы гидроцилиндра давление в нем не должны быть выше 50% от номинального. При последующей эксплуатации важно соблюдать рекомендации производителя, избегать долгой работы под предельными нагрузками.

схема гидроцилиндра

Как заказать

Купить гидроцилиндры разных видов для любой спецтехники вы можете в компании «Интертрактор». Для этого добавьте выбранный товар в корзину и заполните заявку. Мы предлагаем сертифицированную продукцию по доступным ценам. Доставляем запчасти во все населенные пункты России с помощью транспортных компаний.

Для консультации позвоните по номеру 8 800 550 28 70. Менеджеры ответят на вопросы по продукции, помогут рассчитать точную стоимость заказа.

Подобрать запчасти для ремонта гидроцилиндра экскаватора
Нажимая на кнопку "Отправить", я даю согласие на обработку персональных данных
Показать другие статьи
Профессионально подберем запчасти
и сэкономим вам время
Заполните форму и мы быстро подберём для вас лучшие товары
Сэкономить время
Воспользоваться позже
Выберите бренд спецтехники,
на которую требуются запчасти
Caterpillar
Komatsu
Hyundai
Hitachi
Шаг 1 из 4
Назад
Далее
Выберите тип техники,
на которую требуются запчасти
Экскаватор
Бульдозер
Шаг 2 из 4
Назад
Далее
Выберите тип запчасти,
которая требуется
Гидравлика
Гидроцилиндры
Двигатели в сборе
Детали двигателя
Карданы и крестовины
Коронки ножи бокорезы
Навесное оборудование
Насосы гидравлические
Пальцы и втулки
Радиаторы
Редукторы хода
Ремкомплекты гидроцилиндров
Ремни
Рукава высокого давления
Стартеры и генераторы
Стекла кабины
Топливная аппаратура
Турбокомпрессоры
Уплотнения
Фильтры
Ходовая
Электрооборудование
Шаг 3 из 4
Назад
Далее
Введите информацию
для связи с вами
Мы перезвоним в течении 15 минут и предоставим всю интересующую информацию
Ваше имя
Ваш телефон
Нажимая на кнопку "Отправить", я даю согласие на обработку персональных данных
Шаг 4 из 4
Назад
Отправить
Заявка отправлена
Мы перезвоним в течении 15 минут и предоставим всю интересующую информацию
Закрыть окно